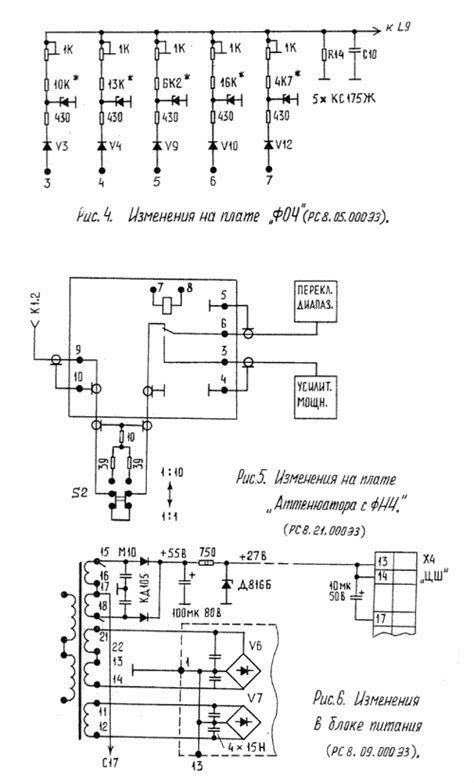
Модернизация радиостанции "Волна"
Аналоги диода КД522: подбор и характеристики
Прайс покупки радиодеталей на лом
Проект КД-522
Импульсная сварка: что это такое, какие характе...
Кд522 - Корзина - Форум по радиоэлектронике
КД522Б - купить Харьков Украина 3v3.com.ua
КД522
Диод КД522Б: характеристики и маркировка
Самый простой драйвер "для начинающих" | Страни...
Волгоградская область, № В 628 КС 34 — Nysa 522...
Самостоятельное изготовление мощного инвертора ...
КД522 , 2Д522 , kd522 справочник диодов, параме...
Системы автоматического управления экономайзеро...
КД522Б (1N4148 2Д522 КД521 КД510А)
Диод КД522Б: характеристики, маркировка, анлоги...
Диод КД105 КД522 СССР новые: 1.20 грн. - Аксесу...
Обзор игровой клавиатуры Дарк Проджект KD65 – П...
Диод маломощный КД 522Б купить в Казани цена 3,...
KD522B ex-USSR Silicon Pulsed Diode QTY=24 NOS ...
Диод КД522: характеристики и особенности
Трактор который мало кто помнит, а он был надеж...
Удмуртия, № Р 522 КС 18 — Урал-4320-80М — Фото ...