Сосна приморская (66 фото) » НА ДАЧЕ ФОТО
Купить саженцы Сосна Балканская (Румелийская) 🌱...
ЗИЛ-131: лучший советский военный грузовик: род...
Сосна обыкновенная фото - 77 картинок
Мать-Сосна (Нижегородская область)
Как выглядит сосна: сорта и виды с фото и описа...
Сосна черная – описание и фото, посадка и уход,...
50 цікавих фактів про сосни
Сосна — виды и сорта. Выращивание. Фото — Ботан...
Мачта для антенны телескопическая, длина 25 мет...
Сосна (102 фото) » НА ДАЧЕ ФОТО
Сосна Обыкновенная - Компания Greenday — Ландша...
Фото и ТТХ военных радиолокаторов и релеек (30 ...
Желтеет сосна на участке летом и осенью: какие ...
Ветер и запуск воздушных змеев [1984 Пантюхин С...
Мачта корабля: фото, название, размеры
Купить сосну Шверина Витхорст - саженцы с доста...
Сосна мелкоцветковая (Pinus parviflora Kokuho) ...
Мачта (20 фото) - красивые картинки и HD фото
Мачты для радиолюбительских антенн
Мачта Радиал MA-6R(S)
Все мачты и антенны на судне (36 фото) - красив...
Сосна Обыкновенная 4-5 метров - Садовый центр К...
5072 (Мачтовая сосна) | Лидер ЛКМ
Описание двигателя зил 131 в картинках
С РЕКИ — НА СТАПЕЛЬ МОДЕЛИСТА | МОДЕЛИСТ-КОНСТР...
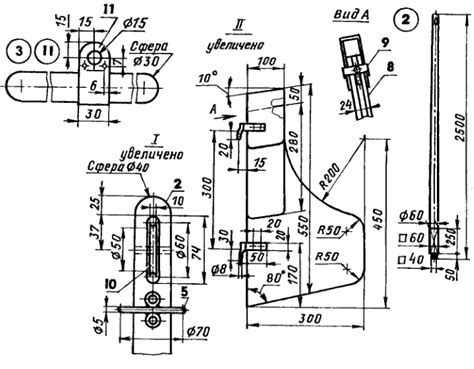
3.Конструкция мачты
Универсальная лодка
Опора лэп, столбы деревянные, мачта, сосна купи...