Скупка микросхем К155 в Москве сдать плату по в...
Частотомер на к155 микросхемах своими руками
Микросхемы серии К155
мир электроники - Микросхемы серии К155
Микросхемы К155 в Электронике 155 или Драгметал...
Скупка микросхем К155 по выгодным ценам | Detal...
Микросхемы К155 купить в Красноярске | Электрон...
НА ИНТЕГРАЛЬНЫХ МИКРОСХЕМАХ СЕРИИ К155
Микросхема к155лн1 распиновка
Цены на микросхемы 155 серии
Микросхемы к561, Кр538, кр1561, К155 - К155ие5,...
Описание микросхемы к155ла3
Микросхемы СССР к155 км155 к555 кр1533 купить в...
Микросхема К155 ТЛ1 — Купить Недорого на Bigl.u...
Микросхемы К155 с видимой позолотой - YouTube
Принцип работы микросхема к155ла3
155 серия - Музей электронных раритетов
Микросхемы К155, KP531, К555, К589, KP1561 Моск...
Микросхемы советские серий К155 К555 купить в С...
Схемы на микросхеме К155ЛА3
Как подключить микросхему к155ла3
Микросхемы КР18538Г1-03, К155, 131ЛА, 174УН, 17...
микросхемы к155 - К155ла1, К155ла2, К155ла3, К1...
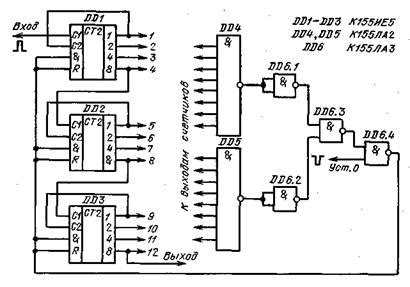
Частотомер на Микросхемах серии К155.
К155тм2 что это за микросхема
Советские микросхемы кр580,к155 купить в Москве...
Микросхема к155тм2 принцип работы
Микросхема к155ла8 содержание драгметаллов
Микросхемы пластик типа К155 , 600 грамм – на с...
Таблица истинности микросхемы к155ла3