Муфта шарнирная ГОСТ 5147-97 - Чертежи, 3D Моде...
Справочные данные по деталям машин
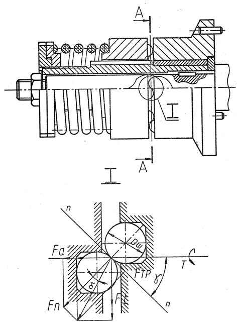
29.2.Шариковая предохранительная муфта
Шариковая муфта чертеж
Шариковая обгонная муфта 1 - YouTube
Муфта предохранительная шариковая МПШ-25 - Черт...
Сборочный чертеж шариковой предохранительной шк...
Конструкции муфт
Купить шарнирную муфту ГОСТ 5147-97 в ПКП УралМ...
Защита Станка От Перегрузок
Муфта БРС шариковая: купить в интернет-магазине...
шариковая муфта - YouTube
Муфта шариковая предохранительная Mayr EAS comp...
Шариковая муфта предохранительная: Предохраните...
Вариант №32. Муфта шариковая предохранительная ...
Вариант 32 муфта шариковая предохранительная - ...
14.4.2. Муфта фрикционная многодисковая
Чертеж конструкции шариковой предохранительной ...
Муфты предохранительные шариковые — - Энциклопе...
Расчет пружинно-шариковой предохранительной и ф...
Муфты
Муфты. Классификация муфт
Шариковая предохранительная муфта DSS
Купить шарнирную муфту ГОСТ 5147-97 в УралМетал...