Сигнализатор напряжения: СНИКМ 6-10Э — купить п...
Муфельная печь СНОЛ 6/10, обзор. Лаб-Терм - You...
Crystal structure evolution process from Cs2SnI...
Скважинные насосы ЭЦВ 6 кн, ЭЦВ 6 нрк - купить ...
Сигнализатор напряжения индивидуальный универса...
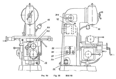
6Н10 станок консольно-фрезерный вертикальный. Х...
Сигнализатор напряжения СНИ 6-10-У2 «Кристалл»
Шина N нулевая на двух угловых изоляторах ШНИ-6...
КРУ ЯКНО-6(10) КРН-6(10) Шкаф высоковольтный КТ...
Iek ШНИ-6х9-6-У2-Ж YNN10-69-6C2-K05 [6/9] Стран...
Трансформаторы напряжения ЗНОЛ(П)-СВЭЛ-6(10), З...
КРН-6 (10) | ЭЛТЕХПРОМ
НАЛИ-НТЗ-6(10) УХЛ2 | Антирезонансные измерител...
(a) The Cs2SnCl6 crystal structure; (b) The Cs2...
СНИ 6-10-У2 Кристалл-М сигнализатор напряжения ...
Электрооборудование фрезерных станков 6Н10, 6Н8...
Сигнализатор напряжения СНИК 6 – 10 касочный te...
Стеновое кольцо КС 10-6 — Завод железобетонных ...
ЗНОЛ(П)-НТЗ-6(10) | KENERGO.KZ
a) Crystal structure of Cu 6 Sn 5 phase and (b)...
Купить сигнализатор напряжения СНСФ-6-10-У2 «Кр...
Удължителен HD шланг DN6 2SN - 10 m - KARCHER- ...
Купить сигнализатор напряжения СНИ-6-10-У2 Крис...
Кольцо стеновое КС 10.6 купить от 3220 руб. в С...
Насос Молочный Универсальный НМУ 6Н/10 центробе...
Система «6С» «Норникеля» показала себя в действ...