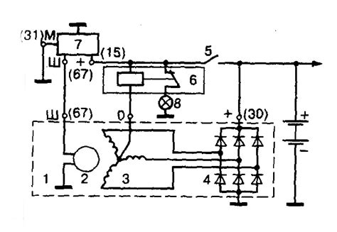
Рс702 на ВАЗ 2106 схема подключения: как провер...
Реле контроля зарядки аккумулятора РС 702 Таври...
Реле 702 ваз 2106 (38 фото) - фото - картинки и...
Реле РС 702 (контроль зарядки) – АВТОРЕВЕРС
Shimano RC702
R702 Alpha – Sambran Electronic
Как подключить РС 702? — 2 ответа
รีวิว! รองเท้า SHIMANO RC702 – HAH HONG
Реле РС-702 заряда АКБ CARTRONIC CRTR0108574 - ...
Рс 702 реле схема подключения
РЕЛЕ ГЕНЕРАТОР РС 702 ЛАДА,ЛАДА НИВА СССР/USSR ...
Реле РС-702 ВАЗ 2101 (109947458) - купити Violity
Купить Усилитель мощности RELOOP DOMINANCE 702 ...
RSR® R702 Wheels - Silver with Machined Face Rims
Чем заменить реле рс 702 - avtoshkolak.ru
Siemens - RK 702 - Wereldontvanger - Catawiki
Дорожная Карта РС 702 Реле заряда аккумуляторно...
RSR® R702 Wheels - Black with Machined Face Rims
Реле РС 702 (стартера) « Каталог « Запчасти Мос...
Реле РС-702 заряда РС702 купить в Минске. Цена ...
⭐ Реле РС-702А. Низкие цены. На складе в наличии.
Siemens RK 702 – Classic Audio
Реле РС 702 (заряджання) (РС 702)|Купити в Texn...
Реле контроля лампы заряда ВАЗ-2101 Калуга КЗАЭ...