Насос водяной 130 130-1307010 ЯМЗ: продажа, цен...
Система охлаждения ЗИЛ 130: описание, состав, э...
Зіл 130: купить ЗИЛ 130 в Украине - ТеплоЭнерго...
Насос водяной ЗИЛ-130 в сборе - 130-1307009-Б3 ...
Водяной насос зил 130 устройство: Устройство и ...
Бензонасос ЗИЛ-130,-131. Производство ШААЗ. (ID...
LWP0630 Насос водяной ЗИЛ-130 без шкива LUZAR -...
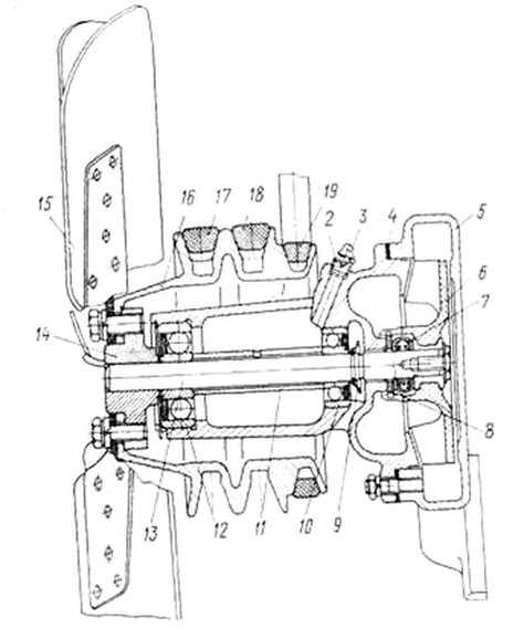
Система охлаждения ЗИЛ-130, водяной насос и рад...
Насос водяной ЗИЛ-130 в сборе | Детали ГАЗ 16
Насос водяной ЗИЛ-130 купить в Екатеринбурге | ...
Насос водяной ЗИЛ-130 (помпа) (со шкивом) (SLON...
Насос водяной зил-130 в сборе пекар купить в Ря...
Насос водяной ЗИЛ-130 - 130-1307010-Б4 - купить...
Водяной насос (помпа) ЗиЛ-130, ремонтный
Помпа зил 130 устройство: Устройство и принцип ...
Насос водяной ЗИЛ-130 ПЕКАР | Детали ГАЗ 16
Система питания ЗИЛ-130 | АвтоКлуб ЗиЛ 130
Насос водяной без шкива автомобиля ЗиЛ-130 (130...
Купить насос водяной зил-130. по выгодной цене ...
1301307009Б3 Насос водяной ЗИЛ-130 в сборе PEKA...
Водяной насос зил 130 | Сравнить цены и купить ...
130-1307009-Б3 Насос Водяной Помпа ЗИЛ 130, ЗИЛ...
130-1307010-Б4 Насос водяной ЗИЛ-130 без шкива ...
Насос масляный ЗИЛ-130 130-1011010-Б2 купить в ...