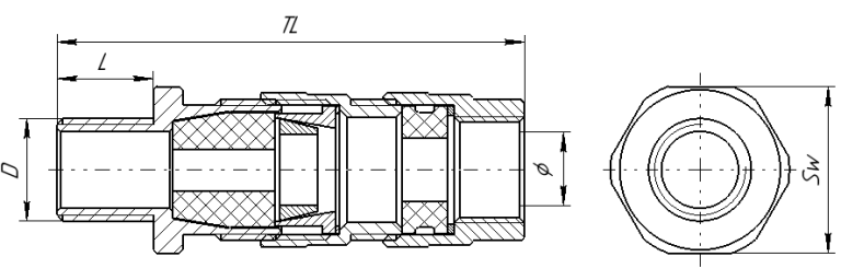
Кабельный ввод взрывозащищенный под бронированный кабель в ...

Кабельный ввод взрывозащищенный под бронированный кабель в ...