Изготовление песчаных литейных форм
Родолит песок - Формовочный песок
Изготовление пресс-форм для литья пластмасс под...
Формочки для песка пнг — купить по низкой цене ...
Формовочная линия-Машиностроительная компания А...
Разновидности литейных форм
Промышленная 3D печать литейных форм
Изготовление литейных форм
Разноцветныe формочки для песка / Красочные Лоп...
Изготовление разовых литейных форм.
Формовочная линия для ПАО "КАМАЗ" :: Новости ::...
Песок формовочный ГОСТ 2138-91 - купить с беспл...
Виготовлення форм для лиття
Автоматизированная линия безопочной формовки
Технологический процесс литья в песчано-глинист...
Изготовление форм для лепнины на заказ — «Феник...
Формовочный песок для литья купить в Екатеринбу...
Формовочный песок 2К1О2025
Изготовление силиконовых форм для литья - Киев,...
Аддитивная технология производства литейных фор...
🍇Форма для бетонних (🍇виноградних🍇) стовпчиків⛩...
Формочка для песочницы - купить в интернет-мага...
Текстура песка
Изготовление форм и стержней. Литейная форма в ...
Песок кварцевый формовочный щебень гранитный ОО...
Изготовление форм для литья песчаные смеси купи...
Литье в песчано-глинистые формы. Формовочные ма...
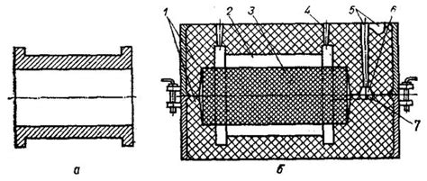
2.3.2 Конструкция песчаной литейной формы
36.Устройство песчаной формы