6174V-6006A-1.jpg
6174V-6002K Equivalent - Flyback Transformer ( ...
PLAYBACK FLYBACK TV LG 6174V-6006V / 6174Z-6006...
Flyback ฟลายแบ็คทีวี ยี่ห้อ LG SAMSUNG SHARP เบ...
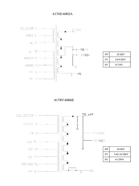
6174V-6006E BSC23-N0107 TV FBT Flyback Transfor...
6174v-6006e Fbt (tv Or Monitor Flyback Transfor...
6174V 6006e PDF | PDF
Ternyata fbt 6174V-6006H pin beda sama fbt 6174...
ฟลายแบ็ค flyback 6174v-6006m ใช้กับทีวี 21 นิ้ว...
Купить 6174v-6006e bsc23-n0107 для тв в интерне...
6174V-8004A Datasheet Meta Search
6174V-6006N - qualityelectro.com
Jual Flyback 6174V-6006V Original di Lapak Sura...
50Hz Single Phase 6174V-6006E TV Flyback Transf...
Строчный трансформатор для телевизора LG (6174V...
Original TV Flyback 6174V-6006E| Alibaba.com
6174V-6006E Datasheet PDF - ETC
6174v ถูกที่สุด พร้อมโปรโมชั่น - มี.ค. 2022 | B...
6174V-6006E Fly Back Transformer - Duinolk | Th...
Модель №6174
6174V-6002K Flyback Transformer at ₹ 230/piece ...
Jual Flyback 6174V - 6006W ORIGINAL di Lapak ma...
6174V-5003D TV Flyback Transformer For 6174V-50...
6174V-6006Y/M/E Flyback Transformer Ignition Co...
FLYBACK 6174V-6002U
Flyback Transformer 6174v-6006v - Buy Fbt 6174v...
ฟลายแบคทีวีLG 6174V-6006W, 6174V-6006V, BSC25-N...
6174V-6006E Fly Back Transformer – Agrotek
6174V-6006M
Harga 6174v6006e Terbaru Oktober 2023 |BigGo In...