МТЗ-320.4 / Беларус 320.4 - Тракторы колесные и...
Трактор МТЗ-320: двигатель, КПП, модификации
Трактор МТЗ 320 | отзывы
Трактор МТЗ 320 Беларус: Устройство и техническ...
Фреза на МТЗ-320 купить - цена на почвофрезы на...
Купити МТЗ 320.5 Трактор Беларус Ціна в Києві і...
БЕЛАРУС - 320
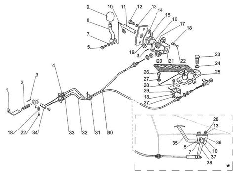
Трос газа МТЗ 320-1108070 - тросик газа МТЗ куп...
Трос газа 320-1108070 ножной МТЗ-320 - Запчасти...
МТЗ 320: характеристики, преимущества, недостатки
МТЗ-320 (Білорус) універсальний малогабаритний ...
Каталог МТЗ-320
Трактор Беларус МТЗ 320: устройство, фото и вид...
Трактор МТЗ 320: технические характеристики, ос...
Трактор МТЗ 320.4 Беларус - устройство и характ...
1
Трактор Беларус МТЗ-320 - Тракторы МТЗ - ООО «Т...
МТЗ-320.4 МК - Уборочная техника - «Вескос» - П...
Трос 320-1108060 ручного газа МТЗ-320 - Запчаст...
Трактор МТЗ-320 Беларус устройство и технически...