1 - Микролаб КР580ИК80 - Знакомство - YouTube
4.1. Микропроцессорный комплект кр580
КР580ВМ80А как и КР580ИК80А — аналог Intel 8080...
Микропроцессор кр580ик80а
KR580VM80A - getting ready for reverse engineer...
4.3 Программируемый контроллер прерываний кр580...
Микросхемы - РетроРадиоДеталь
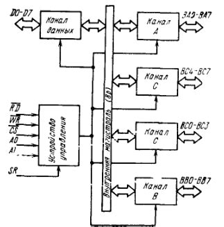
Микросхема КР580ВВ55А
2.5 Системный контроллер и шинный формирователь...
КР580ВВ51А купить в Санкт-Петербурге цена 10,00...
Методические указания
МИКРОКОНТРОЛЛЕРОВ НА БАЗЕ КР580ВМ80
Микролаб КР580ИК80
Многокристальные секционированные микропроцессоры.
МОЗГОВЫНОСЯЩЕЕ видео - КР580ВИ53 - YouTube
2.7 Программируемый параллельный интерфейс кр58...
МИКРОЛАБ КР580ИК80 - YouTube
2.3 Триканальний програмований пристрій - мікро...
3 Характеристики микропроцессора кр580ик80а
2. Опис мікросхем
кр580вв51а - Микросхемы - РетроРадиоДеталь
USSR KR580VM80A
4.4 Программируемый контроллер клавиатуры и инд...
3.6 Микропроцессор кр580вм80а
кр580вм80а — купить в Красноярске. Состояние: Н...
Архитектура микропроцессора кр580вм80а
Организация микропроцессора кр580
4.2 Буферный регистр кр580ир82